999视频精品I九九精品在线观看I中文字幕999I欧美性高跟鞋xxxxhdI欧美一级淫片videoshdI国产视频一级

臭氧知識 當前位置: 主頁 > 新聞中心 > 臭氧知識

    電催化臭氧高級氧化膜反應器廢水處理裝置

    來源:www.yangzhi178.cn 作者:同林臭氧 時間:2020-08-27 11:05

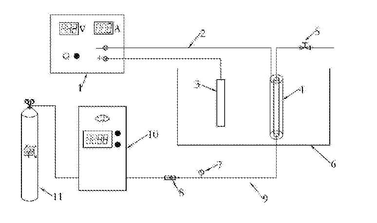
    一種電催化臭氧高級氧化膜反應器廢水處理裝置及方法,屬于污水處理領域,包括可調式直流穩壓電源、連接導線、負載有導電層的疏水膜(導電疏水膜)、輔助電極、料液槽、蠕動泵、臭氧發生器、氣體流量計等部分,該方法可以高效地處理如染料、石化、制藥等行業難降解有機廢水,以及污水廠出水中的微量有機物,可以將臭氧發生器中的氧氣加以利用,節省能源,并提高臭氧傳質和氧化速率。
    電催化臭氧高級氧化膜反應器廢水處理裝置(1)
     
    技術領域
    [0001]本發明涉及電化學、膜技術和臭氧高級氧化技術,具體地說是設計一種電催化臭氧高級氧化膜反應器裝置,將膜技術、電化學技術和臭氧高級氧化技術耦合用于有機廢水處理,以提高臭氧在污水處理中的傳質與高級氧化效率,屬于污水處理領域。
     
    背景技術
    [0002]我國水資源短缺問題嚴重,分布不均勻,并且水污染問題嚴重,水處理技術在解決水污染問題方面發揮著重大的作用。在這些技術中,臭氧水處理技術在很多方面有著明顯的優勢。臭氧具有良好的氧化、消毒、脫色等能力,在飲用水處理中可作為消毒劑和氧化劑;在廢水處理中,可應用于工業廢水等難降解廢水的處理。
    [0003]然而,臭氧水處理技術在應用中也有一些不足:選擇性氧化,中間產物多,礦化效率不足,還會產生溴酸鹽副產物。基于臭氧的高級氧化技術可以很好的解決臭氧在水處理應用中的一些弊端。有學者發現臭氧-過氧化氫高級氧化技術在反應過程中產生·0H,大大提高氧化效率和效果,對難降解有機物等有很好的處理效果。
    [0004]在實際應用中,臭氧發生器多以瓶裝或制氧機供氧,在電場作用下將氧氣轉化為臭氧。事實上,臭氧發生器產生的氣體中,臭氧只占很少一部分,氧氣含量為84%-92%。一方面,這些氧氣未被利用,造成了資源的浪費。另一方面臭氧與廢水的接觸方式導致了臭氧傳質效率不高,再一次造成了資源的浪費。傳統的臭氧接觸方式大多為填料塔、噴霧塔、鼓泡塔等,不但傳質效率不夠高,而且容易出現液泛、乳液、泡沫、氣霧夾帶等問題。
    [0005]基于導電疏水膜的電催化臭氧氧化膜反應器可以很好地解決以上問題。以電解方式將臭氧發生器產生的混合氣體中的氧氣電解得到過氧化氫,隨后過氧化氫與臭氧作用產生·0H可用于難生化有機物的降解。與此同時以疏水膜作為氧氣和臭氧的分布器。疏水膜為氧氣和臭氧的傳質提供了豐富的表面積,在無泡曝氣方式下,可實現快速、低能耗的氧氣和臭氧傳質。利用電催化臭氧氧化膜反應器可以縮小反應器體積,提高氧氣和臭氧的傳質速率和利用率以及氧化效率,降低傳質能耗和資源浪費等多重效果。
     
    申請人:中國科學院生態環境研究中心
    發明人:王軍李魁嶺張勇侯得印曹愛新


          北京同林科技有限公司,從事臭氧技術的研發和應用20多年,在和眾多科研單位交流的過程中,學習、總結了很多經驗和技術。目前,擁有臭氧氧化反應一體化裝置、臭氧催化高級氧化一體化裝置、臭氧光催化氧化一體化裝置、臭氧光催化聯合催化高級氧化一體化裝置、臭氧催化聯合電解一體化裝置等技術。
       一體化裝置分為基礎型、專業型和智能型三種配置。根據配置不同,檢測儀表的配置和自動化程度不同。
     

?